忍者ブログ

高品質バッテリー

Jpdenchi.comはお客様に様々な高品質バッテリーを提供するオンラインショップです

Apple、将来のApple Watch向けに血圧モニタリングシステムを発明

Apple が現在、血圧を測定する方法の開発に取り組んでいることは周知の事実です。少なくとも2022年4月には、ブルームバーグのMark Gurman氏は、Apple Watchに血圧監視機能が追加される可能性があると報じている。ガーマン氏は、Appleがこの機能を2024年に導入すると予想したが、それは実現しなかった。

この度、米国特許庁は、血圧監視機能を備えた Apple Watch を対象とした Apple の特許出願を公開しました。

Appleは、収縮期血圧や拡張期血圧などの従来の血圧パラメータは、オシロメトリック測定技術を使用して正確に測定するのが難しいと指摘しています。圧迫測定中の血管の閉鎖および/または開口を含む、血圧測定に関連するイベントをより正確に判定することが望ましい場合がある。

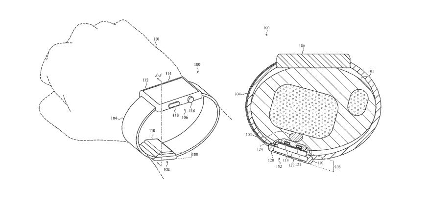
Apple の特許は、液体で満たされた感知チャンバーを使用してユーザーの血圧を測定する血圧測定デバイスを対象としています。

まずプレナムチャンバーが満たされ、感知チャンバーおよび圧力センサーとともにユーザーの血流内で発生する「振動」を検出します。簡単に言えば、血圧は血流を止めるために必要な外部から加えられる圧力です。非侵襲的処置によって血流に圧力が加えられたときに発せられる音または「振動」であるコロトコフ音を測定することができます。

この特許では、チャンバーが液体で満たされていると述べられているが、液体は気体(最終的には空気)とは異なり非圧縮性と考えられているため、液体が空気に対してどのような利点があるのか​​は不明である。

この特許は、11年の経験を持つAppleのハードウェアエンジニアであるCaleb Hanによって作成されました。しかし、いつものように、Apple が特定のテクノロジーの特許を取得しているからといって、それが次の Apple Watch に実装されるとは限らず、さらにはまったく実装されるわけでもありません。

PR

コメント

プロフィール

HN:
Vladimir
性別:
非公開

カテゴリー

P R