Jpdenchi.comはお客様に様々な高品質バッテリーを提供するオンラインショップです
iPhone 18は2026年後半まで発売されないものの、早くもリークが起こり、すでに興奮と懸念が高まっています。最も注目すべき噂の1つは、Appleが新しい2nm A20チップを採用するというもので、大幅な価格上昇につながる可能性があります。
有名な情報提供者のJukanlosreveは、Xで、Appleの2nm A20チップの計画は確定しているが、プロセッサ1台あたりのコストは50ドルから約85ドルに跳ね上がると予想されているという投稿を共有しました。この70%の値上げは消費者にとって小売価格の上昇につながる可能性があり、iPhone 18はこれまでで最も高価なiPhoneの1つになる可能性がありますが、Appleの最終的な価格戦略は依然として不透明です。
明るい面としては、この高度なチップは、より優れたパフォーマンス、改善されたエネルギー効率、およびより小さなフットプリントを実現すると予想されています。この新しいチップ製造方法により、2nmチップの全体的なサイズが縮小され、パフォーマンスとエネルギー効率の両方が向上する可能性があります。 Android Authority の推測によると、iPhone 18 は画面下の Face ID センサーにより、ダイナミック アイランドが小さくなる可能性もある。これにより、端末はよりスタイリッシュですっきりした外観になり、噂されているもう 1 つの変更点、つまりカメラの可変広角レンズを搭載する余地が生まれる可能性がある。
ただし、これらの詳細はすべて推測の域を出ない。iPhone 18 はおそらく 2 年近く先になり、その間に多くのことが変化する可能性がある。サプライ チェーンの障害や優先順位の変更が最終製品に影響を及ぼす可能性があるため、これらの初期のレポートには注意が必要である。
>>>JPdenchi.comでは、ビジネスやプロフェッショナルのニーズに最適なバッテリーを入手できます。バッテリーに関するあらゆるニーズについては、今すぐお問い合わせください。
昨日、Apple は iOS、iPadOS、macOS、tvOS、watchOS、HomePod ソフトウェア、visionOS など、すべての主要なオペレーティング システムのリリース候補をリリースしました。これは、今年後半にリリースが予定されている重要なオペレーティング システム アップデートの最終準備段階です。
ほとんどのユーザーの場合、アップデート プロセスは自動的に進行し、デバイスは Apple の判断でアップデートされます。
AirPods を除くすべての主要な Apple デバイスは、以下のソフトウェア アップデートを受け取ります。
Apple は正式なリリース日を発表していませんが、過去の傾向と最近の動きからヒントを得られます。昨日、Apple はリリース候補を公開しました。これは、予期せぬ遅延がない限り、最終アップデートが間もなくリリースされることを示唆しています。
これまでのところ、Apple は過去数年間、次の日付でアップデートをリリースしています。
このパターンに基づくと、来週の月曜日または火曜日にアップデートが利用可能になると予想するのが妥当です。
リリースのタイミングについては、アップデートは通常、太平洋標準時午前 10 時 / 東部標準時午後 1 時 / オーストラリア東部夏時間午前 5 時 (翌日) 頃に利用可能になります。ただし、サーバーの需要によっては、アップデートがすべてのデバイスに伝播するまでに時間がかかる場合があります。
スムーズなアップデート プロセスを確実に行うには、次の準備を検討してください。
アップデートを開始するには、[設定] > [一般] > [ソフトウェア アップデート] に移動します。利用可能なアップデートが表示されます。
macOS をアップデートする際の重要な考慮事項は、アップデートによって予期しない問題が発生する可能性があるため、データが適切にバックアップされていることを確認することです。
アップデートを開始するには、左上隅の Apple メニューをクリックし、[システム設定] > [一般] > [ソフトウェア アップデート] を選択します。古いバージョンの macOS の場合は、[システム環境設定] > [ソフトウェア アップデート] をクリックします。
Apple TV のアップデート プロセスは比較的簡単です。
自動アップデート
Apple TV を自動アップデートするように設定するには、[設定] > [システム] > [ソフトウェア アップデート] に移動し、[自動アップデート] を有効にします。
手動アップデート
Apple TV を手動でアップデートするには、[設定] > [システム] > [ソフトウェア アップデート] に移動し、[ソフトウェアのアップデート] を選択します。
Apple Watch のアップデートを手動で管理したい場合は、接続された iPhone の Watch アプリからプロセスを制御できます。
アップデート中は、Apple Watch が充電器に接続され、ペアリングされた iPhone の近くにあることを確認してください。
アップデート前にバックアップは必要ありません。アップデートを開始するには、iPhone で Watch アプリを開き、[マイウォッチ] > [一般] > [ソフトウェア アップデート] に移動して、利用可能なアップデートを選択します。
HomePod と HomePod mini は通常、自動的にアップデートされます。手動で介入する必要はなく、バックアップも必要ありません。
手動アップデート
アップデートを手動で確認したい場合は、iPhone、iPad、または Mac のホーム アプリを使用します。ホーム アプリを開きます。[その他] ボタンをタップし、[ホーム設定] > [ソフトウェア アップデート] に移動します。
Vision Pro ユーザーの場合、設定やデータが失われる可能性を回避するために、アップデート前にデバイスをバックアップすることを強くお勧めします。また、アップデート プロセス中はデバイスが電源に接続されていることを確認してください。
visionOS をアップデートするには、[設定] > [一般] > [ソフトウェア アップデート] に移動し、利用可能なアップデートを選択します。
Mac がウイルスに感染するかどうか、感染するならウイルス対策ソフトをインストールすべきかどうかという問題は、Apple ファンの間で議論の的となっている。
Mac セキュリティ会社 Moonlock の新しいレポートによると、AI を利用したマルウェアの脅威が高まっているという。しかし一方では、ウイルス対策アプリは脅威レベルが最小限であるにもかかわらずコンピューターの速度を低下させるため、その価値よりも面倒だと考える人もいる。他方では、ハッカーやウイルス作成者の変化し続ける世界に対して警戒を促している人もいる。
すべてが少々混乱しており、どちらの側を信じるべきか判断が難しい場合が多い。しかし、この新しいレポートがハッカーが Mac ユーザーを犠牲にするために使用している戦術の一部に光を当てたことで、すべてが変わりつつあるのかもしれない。これが私たちの判断だ。
Mac はウイルスに感染しないという信念が長年続いており、その信奉者は常識 (たとえば、トレントや海賊版ソフトウェアをダウンロードしない) と Gatekeeper などの macOS 組み込みツールを組み合わせれば、どんな脅威からも保護されると主張しています。
これらの主張には一定の説得力があります。macOS の強力なウイルス対策ツールの組み合わせにより、Mac は Windows PC よりもマルウェアに感染する確率がはるかに低いことは確かです。しかし、Mac がスパイウェア、トロイの木馬、その他のデジタルの悪意に対して完全に無防備であるという考えは的外れです。
実際、過去数年間で Mac ウイルスの脅威が急速に増加しているという報告があり、マルウェア作成者は Apple ファンをターゲットにするためにスキルを磨いています。
人工知能 (AI) チャットボットの同時増加に伴い、ChatGPT などのツールによって初心者のハッカーでも Mac の最も強力な防御を回避できる破壊的なマルウェアを作成できるようになるのではないかという懸念が一部で高まっています。
現在、Mac セキュリティ会社 Moonlock の新しいレポートは、これらの懸念の一部を裏付けているようです。レポートでは、AI チャットボットにコーディングを開始するよう指示するだけでハッカーが機能するマルウェアを作成した事例が挙げられています。
たとえば、Moonlock のレポートには、「barboris」というハッカーが投稿したメッセージが含まれています。このハッカーは、マルウェア フォーラムで ChatGPT によって作成されたコードを掲載しています。そこで barboris は、コーディングの経験はほとんどなかったものの、少し創造的な指示を与えることで ChatGPT に命令を実行させることができたと説明しています。
ただし、パニックになりすぎる前に言っておきますが、ChatGPT は、見た目ほど万能なマルウェア作成ツールではありません。 AI チャットボットを使用する他の経験と同様に、チャットボットは間違いや意味不明な発言をしがちで、ハッカー志望者の 1 日を台無しにする可能性があります。マルウェアの経験がない人が ChatGPT を使用してウイルスを作成した場合、トラブルシューティングして機能するものを作成するのに苦労する可能性があります。
それでも、経験の浅いハッカーが ChatGPT といくつかの効果的なプロンプト、そして十分な忍耐力だけで機能するウイルスをコーディングできることは明らかです。これは今後数年間、注意深く見守る必要があることです。
CNBC によると、Apple の機械学習および人工知能担当シニアディレクターの Benoit Dupin 氏は、ラスベガスで開催された Amazon の AWS re:Invent カンファレンスで、Apple が多くのクラウドサービスで Amazon Web Services のカスタム AI チップをどのように使用しているかについて講演した。Apple はまた、Amazon の最新 AI チップを使用して Apple Intelligence モデルを事前トレーニングすることも検討している。
「私たちは強力な関係を築いており、インフラストラクチャは信頼性が高く、世界中のお客様にサービスを提供できます」と Apple の Dupin 氏は述べた。
Apple が Amazon のカンファレンスに登場し、同社のチップを採用したことは、AI 支出で Microsoft Azure や Google Cloud と競い合う中で、このクラウドサービスに対する強力な支持を示すものである。Apple もこれらのクラウドサービスを利用している。
イベントで講演した Dupin 氏は、Apple が Graviton や Inferntia などの AWS チップを 10 年以上使用して、Siri や検索、App Store、Apple Music、Apple Maps などの機能を強化してきたことを宣伝した。これにより、Apple は Intel や AMD の x86 チップと比較して 40% の効率向上を実現した。
Dupin氏はまた、Appleが現在、最新のAWS AIトレーニングチップであるTrainium2を評価していることを確認した。出演中、デュビン氏はAppleがTrainium2チップで「事前トレーニングの効率が最大50%向上する」と予想していると述べた。
AWSのCEOマット・ガーマン氏は火曜日のCNBCとのインタビューで、Appleは同社のTrainiumチップの早期導入者でありベータテスターだったと語った。
「Appleは私たちのところに来て、『私たちのジェネレーティブAI機能でどう支援してくれるのか、構築するにはインフラが必要だ』と言って、Apple Intelligenceを構築するというビジョンを持っていた」とAWSのCEOマット・ガーマン氏はCNBCのケイト・ルーニー氏に語った。
Appleは今秋、初のメジャーなジェネレーティブAI製品をリリースした。Apple Intelligenceは、通知を要約したり、メールを書き換えたり、新しい絵文字を生成したりできる一連のサービスである。同社によると、今月下旬にはOpenAIのChatGPTと統合され、来年にはSiriがアプリを制御し自然に話す新しい機能を獲得するという。
OpenAI の ChatGPT のような主要なチャットボットとは異なり、Apple の AI へのアプローチは、クラウド内の Nvidia ベースのサーバーの大規模なクラスターに基づいていません。代わりに、Apple は iPhone、iPad、または Mac のチップを使用して可能な限り多くの処理を行い、その後、独自の M シリーズ チップを使用して Apple が運営するサーバーに複雑なクエリを送信します。
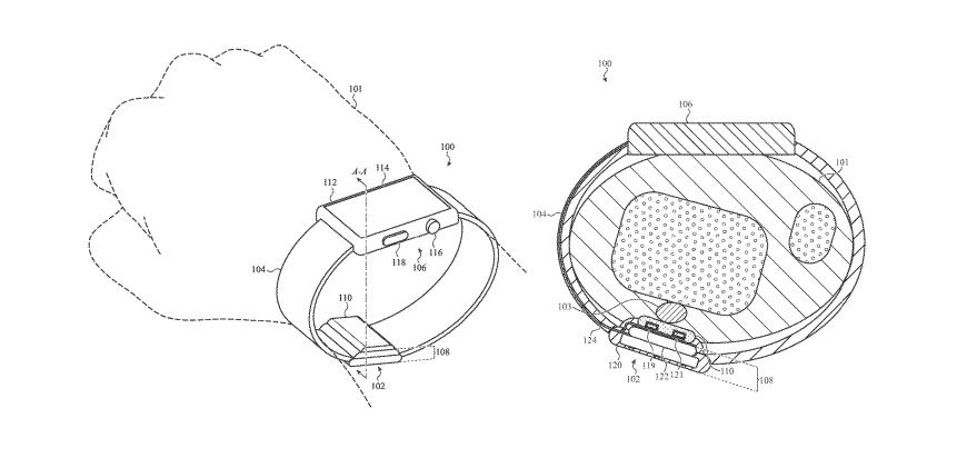
Apple が現在、血圧を測定する方法の開発に取り組んでいることは周知の事実です。少なくとも2022年4月には、ブルームバーグのMark Gurman氏は、Apple Watchに血圧監視機能が追加される可能性があると報じている。ガーマン氏は、Appleがこの機能を2024年に導入すると予想したが、それは実現しなかった。
この度、米国特許庁は、血圧監視機能を備えた Apple Watch を対象とした Apple の特許出願を公開しました。
Appleは、収縮期血圧や拡張期血圧などの従来の血圧パラメータは、オシロメトリック測定技術を使用して正確に測定するのが難しいと指摘しています。圧迫測定中の血管の閉鎖および/または開口を含む、血圧測定に関連するイベントをより正確に判定することが望ましい場合がある。
Apple の特許は、液体で満たされた感知チャンバーを使用してユーザーの血圧を測定する血圧測定デバイスを対象としています。
まずプレナムチャンバーが満たされ、感知チャンバーおよび圧力センサーとともにユーザーの血流内で発生する「振動」を検出します。簡単に言えば、血圧は血流を止めるために必要な外部から加えられる圧力です。非侵襲的処置によって血流に圧力が加えられたときに発せられる音または「振動」であるコロトコフ音を測定することができます。
この特許では、チャンバーが液体で満たされていると述べられているが、液体は気体(最終的には空気)とは異なり非圧縮性と考えられているため、液体が空気に対してどのような利点があるのかは不明である。
この特許は、11年の経験を持つAppleのハードウェアエンジニアであるCaleb Hanによって作成されました。しかし、いつものように、Apple が特定のテクノロジーの特許を取得しているからといって、それが次の Apple Watch に実装されるとは限らず、さらにはまったく実装されるわけでもありません。